Beispiel: Datenverarbeitung für Applikationen
Im folgenden Abschnitt finden Sie einige Beispiele für die Datenbeziehungen zwischen Objektmodell und Funktion und den Registern Bedienung und Erweiterte Bedienung.
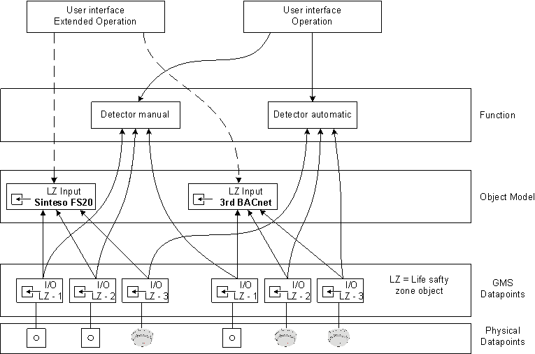
Brandmelder

Fühler

Motor (mit Objekthierarchie)
Wenn bei der Programmierung einer komplexen Funktion (z.B. Pumpe, Lüfter) eine Objekthierarchie existiert, wird beim Datenbankimport ein entsprechendes Hierarchieobjekt erzeugt.

Motor (ohne Objekthierarchie)
Die Objekthierarchie wird manuell mit dem View Builder erstellt, wenn beim Datenimport keine automatische Objekthierarchie erzeugt wird. Beim Anlegen einer Objekthierarchie wird ein Ordner Ansicht als Objektmodell sowie ein zusätzliches Desigo CC-Hierarchieobjekt angelegt. Dies ermöglicht die Nutzung der gleichen Funktion wie für ein hierarchisches Objekt.
